目录

1 介绍

记录执行自动清理和自动激活相关的操作,可用于历史追溯,且运行日志支持导出。

2 查询运行日志

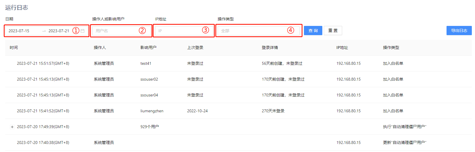
可根据日期、操作人、影响对象、IP地址、操作类型查询运行日志。

①日期:选择日期区间,默认查询最近7天,最大查询范围不能超过一年;

②操作人或影响对象:执行操作的用户,以及操作会影响的用户

③IP地址:操作人的IP地址

④操作类型:记录日志的操作类型包括:

  • 启用“自动清理”
  • 关闭“自动清理”
  • 更新“自动清理”配置
  • 执行“自动清理”
  • 自动将用户移出授权组
  • 自动将用户加入授权组
  • 自动将用户置为未活跃
  • 自动将用户置为活跃
  • 手动将用户置为未活跃
  • 手动将用户置为活跃
  • 加入允许名单
  • 移出允许名单
  • 添加授权组
  • 删除授权组
  • 修改备选组

3 导出日志

运行日志支持导出:

导出示例:



  • 无标签